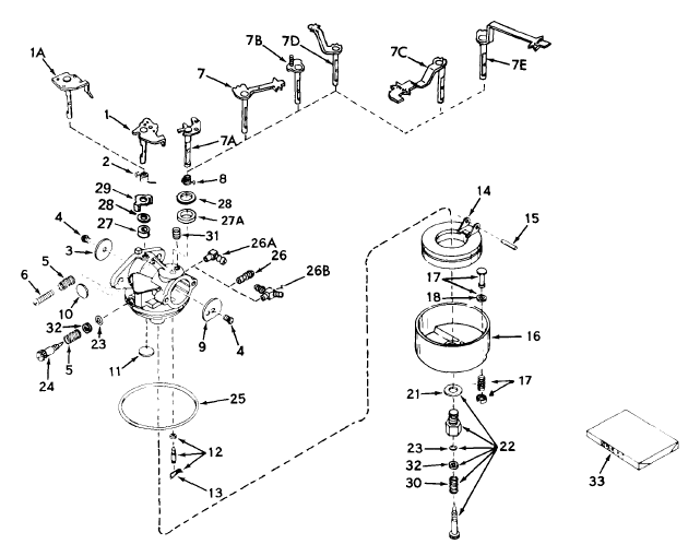
631067A

Tecumseh Carburetor 631067A

631067A

Sl.NoPart DescriptionPart numberNotesPurchase
1"Shaft & Lever Assembly., Throttle31834
2Spring, Throttle return631767replaces 632016
3Shutter, Throttle631036
4Screw, Throttle & Choke shutter650506
5Spring, Regulating screw630766
6Screw, Idle regulating651025replaces 650417
7DShaft & Lever Assembly., Choke31836
8Spring, Compression632042
9Shutter, Choke..31837
10Plug, Welch630748
11Plug, Welch631027
12Inlet Needle, Seat & Clip Assembly.631021Breplaces 631021
13Clip, Inlet needle631022
14Float, Carburetor632019Areplaces 632019
15Shaft, Float631024
16Bowl, Float631867
21Gasket, Bowl-to-body27110Areplaces 27110
22Adj. Screw Assembly., Main31839
23"O" Ring, Adjustment. screw630740
24Screw, Idle adjustment.631838replaces 631078
25Gasket, Bowl-to-body631028Areplaces 631028
26Fitting, Fuel inlet632164replaces 631803
27Seal, Dust631183replaces 631971
27ASeal, Dust631183
28Washer, Dust seal631184
29Retainer, Dust seal631972
30Spring, Main adjustment. screw630738
31Spring, Choke positioning630735
32Washer630739
33Repair Kit31840