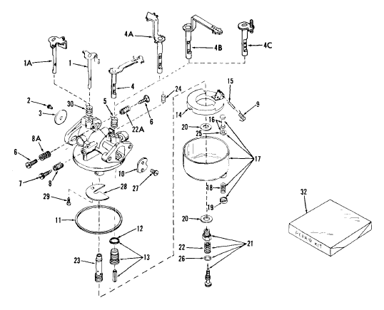
631068

Tecumseh Carburetor 631068

631068

Sl.NoPart DescriptionPart numberNotesPurchase
1"Shaft & Lever Assembly., Throttle30715
2Screw, Sems, 6-32 x 3/1630357
3Shatter, Throttle30726
4BShaft & Lever Assembly., Choke31704
6Screw, Throttle adjusting31687
7Needle, Idle adjusting27112
8Spring, Adjusting needle27114
9Spring, Float shaft31503
10Shutter, Choke30927
11Gasket, Bowl-to-body30356
12Gasket, Valve seat27108
13Valve,Seat & Gasket Assembly.29156
14Float30354
15Shaft, Float27106
16Stem Assembly., Bowl drain27136Areplaces 27136
17Bowl & Drain Assembly.32131replaces 30350
18Spring, Bowl drain27136Areplaces 27137
19Retainer, Bowl drain stem27136Areplaces 27138
20Gasket, Bowl-to-body27110Areplaces 27110
21Needle Assembly., Power adjusting28945
22ASpring, Adjusting needle630786
22Spring, Adjusting needle630786
23Nozzle, Main30355
24Spring, Choke stop27113
25Gasket, Drain stem27554
26"O" Ring27544
27Screw, Sems650506replaces 630606
28Baffle, Carburetor30815
29Screw, Baffle30817
32Repair Kit31390