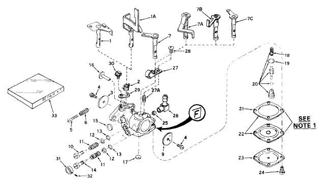
| 1 | "Shaft & Lever Assembly., Throttle | 631044 | | |
| 2 | Spring, Throttle return | 631045 | | |
| 3 | Shutter, Throttle | 631036 | | |
| 4 | Screw, Shutter, 4-40 x 3/16 | 650506 | | |
| 5 | Screw, Idle regulating, 8-32 x 3/4 | 651025 | replaces 650417 | |
| 6 | Spring, Idle speed screw | 630766 | | |
| 7 | Shaft & Lever Assembly., Choke | 631052 | | |
| 9 | Shutter, Choke | 630736 | | |
| 10 | Screw, Idle adjustment | 631562 | | |
| 11 | Spring, Adjustment screw | 630738 | | |
| 12 | Washer, Adjustment screw | 630739 | | |
| 13 | "O" Ring, Adjustment screw | 630740 | | |
| 14 | Screw, Main Adjustment. | 630737 | | |
| 15 | Plug, Welch | 630748 | | |
| 16 | Element, Pump | 630953 | | |
| 17 | Plug, Welch | 632554 | replaces 630746 | |
| 18 | Spring, Valve | 631049 | | |
| 19 | Gasket, Valve seat | 630742 | | |
| 20 | Inlet Needle, Seat, Gasket & Spring Assembly. | 630932A | | |
| 21 | Gasket, Diaphragm | 630750A | replaces 630750 | |
| 22 | Diaphragm Assembly. | 630978 | | |
| 23 | Cover, Diaphragm | 630751 | | |
| 24 | Screw, Cover | 650545 | | |
| 25 | Valve, Check | 631201 | | |
| 26 | Fitting, Fuel line | 631031 | | |
| 27 | Spring, Detent | 631048 | | |
| 28 | Screw | 650569 | | |
| 29 | Retainer, Throttle shaft | 630955 | | |
| 30 | Screw | 650545 | | |
| 33 | Repair Kit | 631893A | replaces 631893 | |