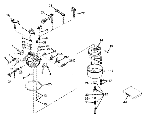
| 1 | "Shaft & Lever Assembly., Throttle | 31834 | | |
| 2 | Spring, Throttle return | 631767 | replaces 631279A | |
| 3 | Shutter, Throttle | 631036 | | |
| 4 | Screw, Throttle & Choke shutter | 650506 | | |
| 5 | Spring, Regulating screw | 630766 | | |
| 6 | Screw, Idle regulating | 651025 | replaces 650417 | |
| 7 | Shaft & Lever Assembly., Choke | 630973 | | |
| 8 | Spring, Choke return | 632045 | | |
| 9 | Shutter, Choke | 631037 | | |
| 10 | Plug, Welch | 630748 | | |
| 11 | Plug, Welch | 631027 | | |
| 12 | Inlet Needle, Seat & Gasket Assembly. | 631021B | replaces 631021 | |
| 13 | Clip, Inlet needle | 31022 | | |
| 14 | Float, Carburetor | 632019A | replaces 632019 | |
| 15 | Shaft, Float | 631024 | | |
| 16 | Bowl, Float | 631867 | | |
| 21 | Gasket, Bowl-to-body | 27110A | replaces 27110 | |
| 22 | Adjustment. Screw Assembly., Main | 631026 | | |
| 23 | "O" Ring, Adjustment. screw | 630740 | | |
| 24 | Screw, Idle adi | 631838 | replaces 631078 | |
| 25 | Gasket, Bowl-to-body | 631028A | replaces 631028 | |
| 26 | Fitting, Fuel inlet | 631808 | | |
| 27 | Seal, Dust | 631183 | replaces 631971 | |
| 27A | Seal, Dust | 631183 | | |
| 28 | Washer, Dust seal | 631184 | | |
| 29 | Retainer, Dust seal | 631972 | | |
| 30 | Spring, Main adi. screw | 630738 | | |
| 32 | Washer | 630739 | | |
| 33 | Repair Kit | 631029 | | |