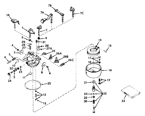
631127

Tecumseh Carburetor 631127

631127

Sl.NoPart DescriptionPart numberNotesPurchase
1"Shaft & Lever Assembly., Throttle31834
2Spring, Throttle return631767replaces 632016
3Shutter, Throttle631036replaces 630733
4Screw, Throttle & Choke shutter650506
5Spring, Regulating screw630766
6Screw, Idle regulating651025replaces 650417
7Shaft & Lever Assembly., Choke630973
8Spring, Choke return632045
9Shutter, Choke631037
10Plug, Welch630748
11Plug, Welch631027
12Inlet Needle, Seat & Gasket Assembly.631021Breplaces 631021
13Clip, Inlet needle31022
14Float, Carburetor632019Areplaces 632019
15Shaft, Float631024
16Bowl & Drain Assembly., Float631951
17Plunger Assembly., Drain27136A
18Gasket, Drain plunger27554
21Gasket, Bowl-to-body27110Areplaces 27110
22Adjustment. Screw Assembly., Main631026
23"O" Ring, Adjustment. screw630740
24Screw, Idle adi631838replaces 631078
25Gasket, Bowl-to-body631028Areplaces 631028
26Fitting, Fuel inlet631808
30Spring, Main adi. screw630738
32Washer630739
33Repair Kit631029