| 1A | "Shaft & Lever Assembly., Throttle | 31994 | | |
| 2 | Screw, Sems, 4-40 x 3/16 | 650506 | replaces 630606 | |
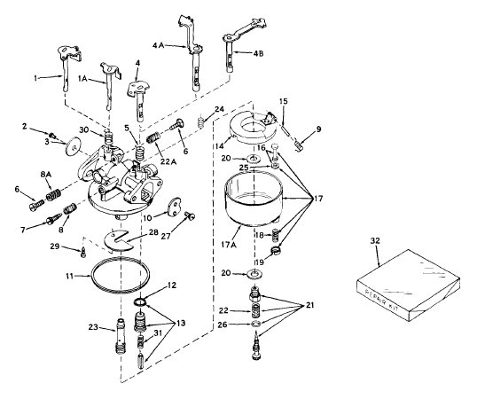
| 3 | Shutter, Throttle | 31995 | | |
| 4A | Shaft & Lever Assembly., Choke | 631499 | replaces 31996 | |
| 6 | Screw, Throttle adjusting | 650399 | replaces 630605 | |
| 7 | Needle, Idle adjusting | 27112 | | |
| 8A | Spring, Adjusting needle | 27114 | | |
| 8 | Spring, Adjusting needle | 27114 | | |
| 9 | Spring, Float shaft | 31503 | | |
| 10 | Shutter, Choke | 30927 | | |
| 11 | Gasket, Bowl-to-body | 27109 | | |
| 12 | Gasket, Valve seat | 27108 | | |
| 13 | Valve, Seat & Gasket Assembly. | 32256A | replaces 31998 | |
| 14 | Float | 27105 | | |
| 15 | Shaft, Float | 27106 | | |
| 16 | Stem Assembly, Bowl drain | 27136A | replaces 27136 | |
| 17 | Bowl & Drain Assembly | 29170 | replaces 630596 | |
| 18 | Spring, Bowl drain | 27136A | replaces 27137 | |
| 19 | Retainer, Bowl drain stem | 27136A | replaces 27138 | |
| 20 | Gasket, Bowl-to-body | 27110A | replaces 27110 | |
| 21 | Needle Assembly., Power adjusting | 28945 | | |
| 22 | Spring, Adjusting needle | 630786 | | |
| 23 | Nozzle, Main | 29139 | | |
| 24 | Spring, Choke stop | 27113 | | |
| 25 | Gasket, Drain stem | 27554 | | |
| 26 | "O" Ring | 27544 | | |
| 27 | Screw, Sems | 650506 | replaces 630606 | |
| 30 | Spring, Throttle return | 32096 | | |
| 31 | Spring, Float valve | 32076 | | |
| 32 | Repair Kit | 32256A | replaces 31999 | |