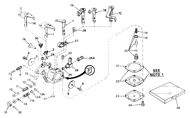
631164

Tecumseh Carburetor 631164

631164

Sl.NoPart DescriptionPart numberNotesPurchase
1"Shaft & Lever Assembly., Throttle631167
2Spring, Throttle return631045
3Shutter, Throttle631036
4Screw, Throttle & Choke shutter650506
5Screw, Idle regulating651025replaces 650417
6Spring, Idle speed screw630766
7BShaft & Lever Assembly., Choke631062
9Shutter, Choke630736
10Screw, Idle adjustment.631562
11Spring, Idle adjustment. screw630738
11ASpring, Main adjustment. screw630738
12AWasher, Main adjustment. screw630739
12Washer, Idle adjustment. screw630739
13"O" Ring, Idle adjustment. screw630740
13A"O" Ring, Main adjustment. screw630740
14Screw, Main adjustment.630737
15Plug, Welch630748
16Element, Pump630953
17Plug, Welch632554replaces 630746
18Spring, Valve631049
19Gasket, Valve seat630742
20Inlet Needle, Seat, Gasket & Spring Assembly.630932A
21Gasket, Diaphragm630750Areplaces 630750
22Diaphragm Assembly.630978
23Cover, Diaphragm630751
24Screw, Cover650545
25Valve, Check631032
26Fitting, Fuel inlet631031
27Spring, Detent631048
28Screw, Detent spring650569
29Retainer, Throttle shaft630955
30Screw, Retainer650545
34Repair Kit631893Areplaces 631893