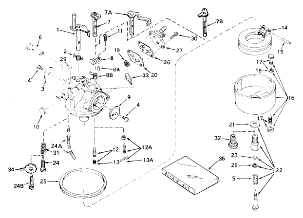
| 1 | "Shaft & Lever Assembly., Throttle | 631030 | | |
| 2 | Spring, Throttle return | 631045 | | |
| 3 | Shutter, Throttle | 631621 | | |
| 4 | Screw, Rd. hd. 4-40 x 3/16 | 650506 | | |
| 5 | Spring, Main adjustment screw | 630738 | | |
| 6 | Element, Pump | 630953 | | |
| 7A | Shaft & Lever Assembly., Choke | 631171 | | |
| 8A | Spring, Choke positioning | 630735 | replaces 630972 | |
| 9 | Shutter, Choke | 31837 | | |
| 10 | Plug, Welch | 630748 | | |
| 11 | Screw, Rd. hd. 6-32 x 3/16 | 650569 | | |
| 12 | Inlet Needle & Spring Assembly. | 631505 | | |
| 13 | Spring, Inlet needle | 631506 | | |
| 14 | Float, Carburetor | 632019A | replaces 631023 | |
| 15 | Shaft, Float | 631024 | | |
| 16 | Bowl & Drain Assembly., Float | 631949 | replaces 631332 | |
| 17 | Plunger Assembly., Drain | 27136A | | |
| 18 | Gasket, Drain plunger | 27554 | | |
| 19 | Screen, Filter | 631553 | | |
| 20 | Gasket | 632259A | replaces 631554 | |
| 21 | Gasket, Bowl-to-body | 631334A | replaces 631334 | |
| 22 | Adjustment Screw Assembly., Main | 631861 | replaces 631343 | |
| 23 | "O" Ring, Adjustment screw | 630740 | | |
| 24 | Screw, Idle adjustment | 631344 | | |
| 25 | Gasket, Bowl-to-body | 631028A | replaces 631028 | |
| 26 | Valve, Flap | 631555 | | |
| 27 | Cover Assembly., Valve | 631556A | replaces 631556 | |
| 28 | Washer | 630739 | | |
| 29 | Shot,Lead | 631335 | | |
| 30 | Screw, Pan flex hd., 4-40 x 3/8 | 650699 | | |
| 31 | Spring, Adjustment screw | 631345 | | |
| 35 | Repair Kit | 631374 | | |