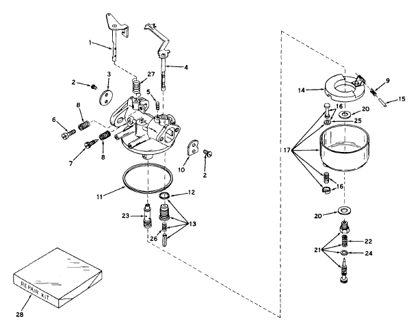
| 1 | "Shaft & Lever Assembly., Throttle | 31994 | | |
| 2 | Screw, Pan hd. Sems, 4-40 x 3/16 | 650506 | replaces 630606 | |
| 3 | Shutter, Throttle | 31995 | | |
| 4 | Shaft & Lever Assembly., Choke | 631499 | replaces 31996 | |
| 5 | Spring, Choke stop | 27113 | | |
| 6 | Throttle adjusting | 650399 | replaces 630605 | |
| 7 | Needle, Idle adjusting | 27112 | | |
| 8 | Spring, Adjusting needle | 27114 | | |
| 9 | Spring, Float shaft | 31503 | | |
| 10 | Shutter, Choke | 30927 | | |
| 11 | Gasket, Bowl-to-body | 27109 | | |
| 12 | Gasket, Valve seat | 27108 | | |
| 13 | Valve, Seat, Gasket & Spring Assembly. | 32256A | replaces 31998 | |
| 14 | Float | 27105 | | |
| 15 | Shaft, Float | 27106 | | |
| 16 | Drain Assembly., Bowl | 27136A | | |
| 17 | Bowl & Drain Assembly. | 29170 | replaces 630596 | |
| 20 | Gasket, Bowl-to-body | 27110A | replaces 27110 | |
| 21 | Needle Assembly., Power adjusting | 28945 | | |
| 22 | Spring, Adjusting needle | 630786 | | |
| 23 | Nozzle, Main | 30355 | | |
| 24 | "O" Ring | 27544 | | |
| 25 | Gasket, Drain stem | 27554 | | |
| 26 | Spring, Float valve | 32076 | | |
| 27 | Spring, Throttle return | 32096 | | |
| 28 | Repair Kit | 32256A | replaces 31999 | |