| 1B | "Shaft & Lever Assembly, Throttle | 631615 | | |
| 2 | Spring, Throttle return | 631767 | replaces 631279A | |
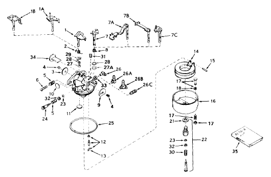
| 3 | Shutter, Throttle | 631036 | | |
| 4 | Screw, Throttle & Choke, shutter | 650506 | | |
| 5 | Spring, Regulating screw | 630766 | | |
| 6 | Screw, Idle regulating | 651025 | replaces 650417 | |
| 7B | Shaft & Lever Assembly, Choke | 31841A | replaces 31841 | |
| 9 | Shutter, Choke | 31837 | | |
| 10 | Plug, Welch | 630748 | | |
| 11 | Plug, Welch | 631027 | | |
| 12 | Inlet Needle, Seat & Clip Assembly | 631021B | replaces 631021 | |
| 13 | Clip, Inlet needle | 631022 | | |
| 14 | Float, Carburetor | 632019A | replaces 632019 | |
| 15 | Shaft, Float | 631024 | | |
| 16 | Bowl & Drain Assembly, Float | 631951 | | |
| 17 | Plunger Assembly, Drain | 27136A | | |
| 18 | gasket, Drain plunger | 27554 | | |
| 21 | Gasket, Bowl-to-body | 27110A | replaces 27110 | |
| 22 | Adjustment. Screw Assembly, Main | 31839 | | |
| 23 | "O" Ring, Adjustment. screw | 631740A | replaces 631740 | |
| 24 | Screw, Idle Adjustment. | 631838 | replaces 631078 | |
| 25 | "O" Ring, Bowl-to-body | 631028A | replaces 631028 | |
| 26C | Fitting, Fuel inlet | 632164 | replaces 631803 | |
| 30 | Spring, Main Adjustment. screw | 630738 | | |
| 31 | Spring, Choke positioning | 630735 | | |
| 32 | Washer | 630739 | | |
| 35 | Repair Kit | 31840 | | |