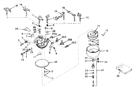
631241

Tecumseh Carburetor 631241

631241

Sl.NoPart DescriptionPart numberNotesPurchase
1"Shaft & Lever Assembly, Throttle31834
2Spring, Throttle return631767replaces 632016
3Shutter, Throttle631036
4Screw, Throttle & Choke, shutter650506
5Spring, Regulating screw630766
6Screw, Idle regulating651025replaces 650417
7BShaft & Lever Assembly, Choke31869
9Shutter, Choke31837
10Plug, Welch630748
11Plug, Welch631027
12Inlet Needle, Seat & Clip Assembly631021Breplaces 631021
13Clip, Inlet needle631022
14Float, Carburetor632019Areplaces 632019
15Shaft, Float631024
16Bowl & Drain Assembly, Float631951
17Plunger Assembly, Drain27136A
18gasket, Drain plunger27554
21Gasket, Bowl-to-body27110Areplaces 27110
22Adjustment. Screw Assembly, Main31839
23"O" Ring, Adjustment. screw631740Areplaces 631740
24Screw, Idle Adjustment.631838replaces 631078
25"O" Ring, Bowl-to-body631028Areplaces 631028
26CFitting, Fuel inlet632164replaces 631803
30Spring, Main Adjustment. screw630738
31Spring, Choke positioning630735
32Washer630739
35Repair Kit31840