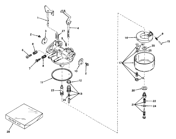
631258

Tecumseh Carburetor 631258

631258

Sl.NoPart DescriptionPart numberNotesPurchase
1"Shaft & Lever Assembly., Throttle31994
2Screw, Pan hd. Sems, 4-40 x 3/16650506replaces 630606
3Shutter, Throttle31995
4Shaft & Lever Assembly., Choke631499replaces 31996
5Spring, Choke stop27113
6Throttle adjusting650399replaces 630605
7Needle, Idle adjusting27112
8Spring, Adjusting needle27114
9Spring, Float shaft31503
10Shutter, Choke30927
11Gasket, Bowl-to-body27109
12Gasket, Valve seat27108
13Valve Seat, Gasket & Spring Assembly.32256Areplaces 32255
14Float27105
15Shaft, Float27106
16Drain Assembly., Bowl27136A
17Bowl & Drain Assembly.29170replaces 630596
20Gasket, Bowl-to-body27110Areplaces 27110
21Needle Assembly., Power adjusting28945
22Spring, Adjusting needle630786
23Nozzle, Main30355
24"O" Ring27544
25Gasket, Drain stem27554
26Spring, Float valve32076
27Spring, Throttle return32096
28Repair Kit32256Areplaces 32256