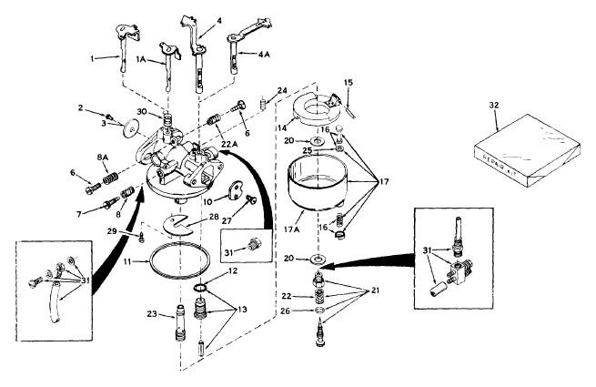
| 1A | "Shaft & Lever Assembly., Throttle | 31705 | | |
| 2 | Screw, Sems, 6-32 x 3/16 | 30357 | | |
| 3 | Shutter, Throttle | 31617 | | |
| 4 | Shaft & Lever Assembly., Choke | 31706 | | |
| 6 | Screw, Throttle adjusting | 31687 | | |
| 7 | Needle, Idle adjusting | 32133 | | |
| 8 | Spring, Adjusting needle | 27114 | | |
| 10 | Shutter, Choke | 30927 | | |
| 11 | Gasket, Bowl-to-body | 30356 | | |
| 17A | Bowl, Fuel | 32131 | | |
| 20 | Gasket, Bowl-to-body | 27110A | replaces 27110 | |
| 21 | Needle Assembly., Power adjusting | 32132 | | |
| 22A | Spring, Adjusting needle | 630786 | | |
| 22 | Spring, Adjusting needle | 630786 | | |
| 24 | Spring, Choke stop | 27113 | | |
| 26 | "O" Ring | 27544 | | |
| 27 | Screw, Sems | 650506 | replaces 630606 | |
| 32 | Repair Kit | 32134 | | |