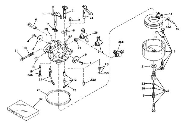
| 1 | "Shaft & Lever Assembly., Throttle | 631030 | | |
| 2 | Spring, Throttle return | 631045 | replaces 630810 | |
| 3 | Shutter, Throttle | 631036 | | |
| 4 | Screw, Rd. hd., 4-40 x 3/16 | 650506 | | |
| 5 | Spring, Main adjustment screw | 630738 | | |
| 6 | Element, Pump | 630953 | | |
| 7 | Shaft & Lever Assembly., Choke | 631268 | | |
| 8 | Spring, Detent | 631048 | | |
| 9 | Shutter, Choke | 630758 | | |
| 10 | Plug, Welch | 630748 | | |
| 11 | Screw, Rd. hd., 6-32 x 3/16 | 650569 | | |
| 12A | Inlet Needle & Spring Assembly. | 631351 | | |
| 14 | Float, Carburetor | 632019A | replaces 631023 | |
| 15 | Shaft, Float | 631024 | | |
| 16 | Bowl & Drain Assembly., Float | 631949 | replaces 631332 | |
| 17 | Plunger Assembly., Drain | 27136A | | |
| 18 | Gasket, Drain plunger | 27554 | | |
| 21 | Gasket, Bowl-to-body | 631334A | replaces 631334 | |
| 22 | Adjustment Screw Assembly., Main | 631353 | | |
| 23 | "O" Ring, Adjustment screw | 630740 | | |
| 24 | Screw Assembly., Idle | 631271 | | |
| 25 | Gasket, Bowl-to-body | 631028A | replaces 631028 | |
| 26A | Fitting, Fuel inlet | 631357 | | |
| 27 | Valve, Check | 631201 | | |
| 28 | Washer | 630739 | | |
| 29 | Shot, Lead | 631335 | | |
| 32 | Repair Kit | 631354 | | |