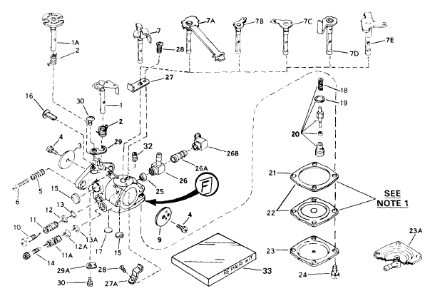
631359

Tecumseh Carburetor 631359

631359

Sl.NoPart DescriptionPart numberNotesPurchase
1"Shaft & Lever Assembly., Throttle631059
2Spring, Throttle return631045
3Shutter, Throttle631036
4Screw, Throttle & Choke shutter650506
5Spring, Idle speed630766
6Screw, Idle regulating651025replaces 650417
7AShaft & Lever Assembly., Choke631360
9Shutter, Choke630736
10Screw, Idle Adjustment.630898
11Spring, Idle Adjustment. screw630738
11ASpring, Main Adjustment. screw631192
12ASpring, Main Adjustment. screw631191
12Spring, Idle Adjustment. screw630739
13"O" Ring, Idle Adjustment. screw630740
13A"O" Ring, Main Adjustment. screw631190
14Screw, Main Adjustment.631189
15Plug, Welch630748
17Plug, Welch632554replaces 630746
18Spring, Valve631049
19Gasket, Valve seat630742
20Inlet Needle, Seat, Spring & Gasket Assembly.630932A
21Gasket, Diaphragm630750Areplaces 630750
22Diaphragm Assembly.630978
23Cover, Diaphragm630751
24Screw, Diaphragm cover650545
26Fitting, Fuel inlet632527replaces 631775
27Spring, Detent631048
28Screw, Detent650569
29Retainer, Throttle shaft630955
30Screw, Retainer650545
33Repair Kit631893Areplaces 631893