| 1 | "Reducer, Body channel | 631405 | | |
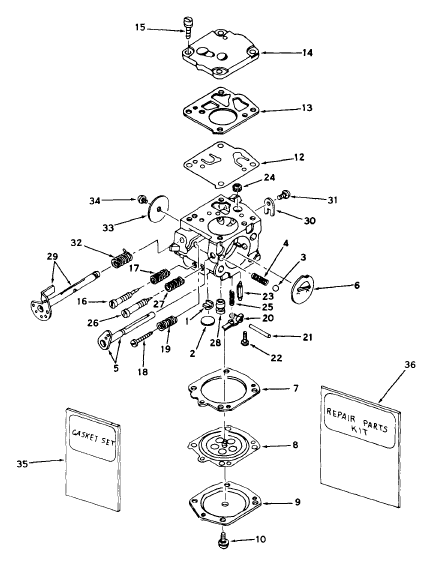
| 2 | Plug, Welch | 631408 | | |
| 3 | Ball, Choke friction | 631406 | | |
| 4 | Spring, Choke friction | 630255 | | |
| 5 | Shaft & Lever, Choke | 631427 | | |
| 6 | Shutter, Choke | 631415 | | |
| 7 | Gasket, Diaphragm | 631411 | | |
| 8 | Diaphragm | 631418 | | |
| 9 | Cover, Diaphragm | 631412 | | |
| 10 | Screw, retaining | 630269 | | |
| 12 | Diaphragm, Fuel pump | 631423 | | |
| 13 | Gasket, Fuel pump | 631413 | | |
| 14 | Cover, Fuel pump | 631409 | | |
| 15 | Screw, Retaining | 631428 | | |
| 16 | Screw, Idle mixture | 631425 | | |
| 17 | Spring, Idle mixture screw | 631424 | | |
| 18 | Screw, Idle speed | 631417 | | |
| 19 | Spring, Idle speed screw | 630633 | | |
| 20 | Lever, inlet control | 631420 | | |
| 21 | Pin, Inlet pinion | 631410 | | |
| 22 | Screw, Retaining | 631416 | | |
| 23 | Needle, Inlet | 631421 | | |
| 24 | Screen, Inlet | 631407 | | |
| 25 | Spring, Inlet tension | 630803 | | |
| 26 | Screw, High speed mixture | 631426 | | |
| 27 | Spring, High speed mixture screw | 630253 | | |
| 28 | Check Valve, Nozzle | 631429 | | |
| 29 | Shaft & Lever, Throttle | 631419 | | |
| 30 | Clip, Throttle shaft | 631414 | | |
| 31 | Screw, Retaining | 630700 | | |
| 32 | Spring, Throttle shaft retainer | 631422 | | |
| 33 | Shutter, Throttle | 630180 | | |
| 34 | Screw, Throttle shutter | 630700 | | |
| 35 | Gasket Set | 631430 | | |
| 36 | Repair Parts Kit | 631431 | | |